×
Вход
Имя пользователя
Пароль
Автоматически входить при каждом посещении
Вход
Вход
Регистрация
Вход
Регистрация
Пользователи
FAQ
Блог
Чат
Всеукраїнський клуб BMW E28
Головний форум
Где можно купить комплект стояночного тормоза
Спілкування...
Ответить
Страница
1
из
1
Сообщений: 2
Где можно купить комплект стояночного тормоза
#
Roma524td
Сообщения:
16
Зарегистрирован:
05 ноя 2014, 11:04
Maschine:
524td
16 апр 2015, 15:38
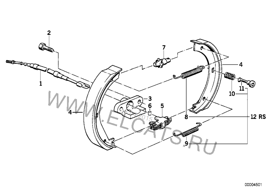
Всем привет где можно найти и купить всьой компликт етова? Буду блогодарен...
Вложения
Re: Где можно купить комплект стояночного тормоза
#
Stefano_Kuni
Администратор ресурса
Сообщения:
3674
Зарегистрирован:
27 апр 2011, 19:34
Откуда:
Харьков
Maschine:
E28 524td
16 апр 2015, 16:36
Нужно все, что на фото?
"Всплеск эмоций рождает новую адреналина порцию"(с)
<
Only original kit
>
Страница
1
из
1
Ответить